Cirrus Logic

Cirrus Logic


EP9302

Targets: Audio, Consumer, Industrial, Security

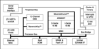
Cirrus Logic EP9302 Block Diagram

The ARM9-based EP9302 features 200 MHz of processing power and contains on-board Ethernet data processing, a 100 MHz system bus, two UARTs, five-input A/D, IrDA interface, SPI port, I²S, AC '97, and two USB ports. Included on the EP9302 is the MaverickCrunch engine, an advanced, mixed-mode math coprocessor that greatly accelerates the single- and double-precision integer and floating-point processing capabilities of the ARM920T processor core, and MaverickKey technology for DRM. It is available in a 208-pin QFP package.