Texas Instruments

Texas Instruments


MSP430F1XX/F2XX

Targets: Audio, Computers & Peripherals, Consumer, Imaging & Video, Industrial, Medical, Mobile & Wireless, Security

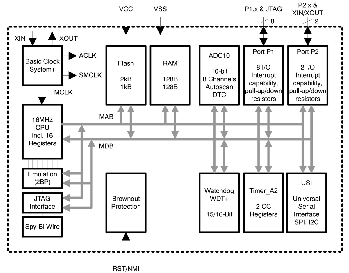
Texas Instruments MSP430F1XX Block Diagram

The MSP430x1xx series includes general purpose processors offering capabilities from a simple low power controller with a comparator to complete systems, including high-performance data converters, interfaces and multipliers.

The MSP430F15x/16x/16xx series features all of the analog components required to integrate the analog signal chain. Portable instrumentation applications will not require external components to acquire, process, and output analog signals. The integrated 12-bit ADC has 8-input channels with greater than 200-KSPS and two 12-bit DAC's have a 1 microsecond settling time. The 3-channel DMA eliminates data transfer delays to the on-chip DACs, ADC, and other peripherals and frees up the 16-bit RISC CPU to spend time processing data, instead of performing "handling" tasks. Compared to using an external DAC and software, the MSP430F161x on-chip DAC module, coupled with the DMA, provides a greater than ten times increase in achievable analog output signal frequency. The MSP430F169 supports streamlining the mixed-signal path with the signal chain.

Texas Instruments MSP430F2XX Block Diagram

The MSP430F2xx platform operates at up to 16 MHz and delivers a real time clock standby power consumption of less than 1 micro-amp. Additional enhancements of MSP430F2xx microcontrollers include an integrated ±1% on-chip digitally controlled oscillator (DCO), software-selectable, internal pull-up/ pull-down resistors and more analog inputs. The in-system programmable Flash has also been improved with smaller 64-byte segments and a lower 2.2V programming voltage allowing the elimination of external EEPROMs in most systems. MSP430F24x and MSP430F261x are optimized for operation in low-power ZigBee networks, while the MSP430F2410 targets applications such as IEEE 802.15.4 wireless networks and automatic meter reading.

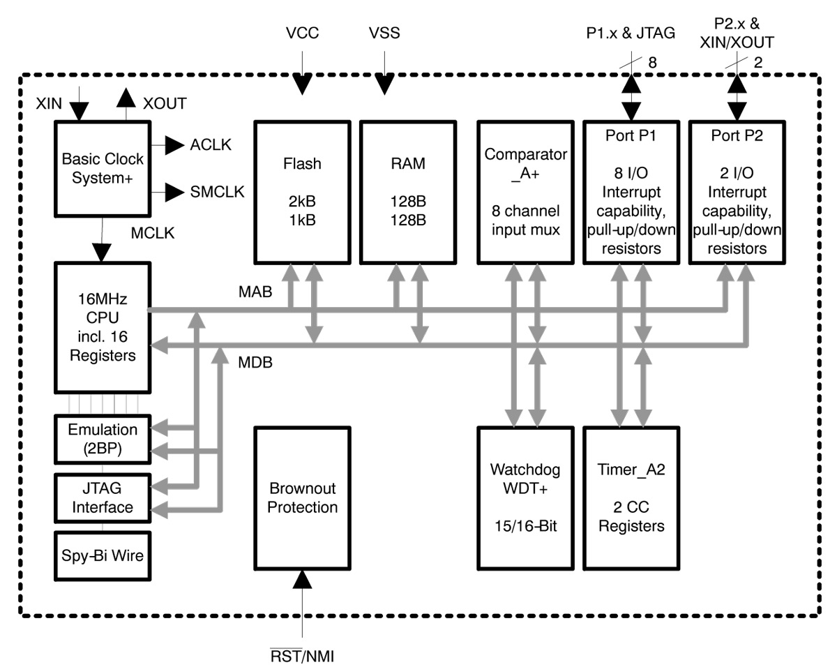
Texas Instruments MSP430F2XX Block Diagram

The devices in the 2xx series, except for the MSP430F21x1, can deliver as low as 500 nano-amp standby mode utilizing the very low-power oscillator (VLO) technology, which allows the MSP430F2xx microcontroller to be totally self-clocked in an ultra-low power standby mode with self-wakeup capability using no external components. Prior to VLO, designers had been forced to use external crystals or oscillator circuits to achieve ultra-low power standby. Using no external components, the VLO reduces systems component count, costs, and space.

The MSP430F20xx low-pin count series targets portable space constrained applications. In addition to all the 2xx features, it comes in a 4x4 mm footprint with 10 fully accessible general purpose IO. This series includes an analog function ranging from a configurable comparator to a 16-bit Delta Sigma A/D converter. High precision instrumentation coupled with the universal serial interface (USI) that can be used for SPI and I²C communication enables intelligent sensing applications. These devices enable an engineer to design a battery operated passive infrared motion detector that requires no externals using the on-board 16-bit Delta Sigma A/D converter with internal programmable gain and voltage reference.

The MSP430F20xx microcontroller can be used as tiny system power supervisor with an embedded real-time clock function that can be added to any application for basic user interface and to supervise a larger system processor like digital still cameras, personal digital assistants (PDA), or MP3 players.

Products designed for harsh environments benefit from the MSP430F2xx's zero-power brown-out reset (BOR) function, a new failsafe clock system, enhanced watchdog timer and improved bootstrap loader (BSL). In the event of a crystal failure, from active or any low-power mode, the MSP430F2xx microcontroller series clock system can automatically re-start the on-chip oscillator and force a non-maskable interrupt.