Hyperstone

Hyperstone


F4

Targets: Consumer, Industrial

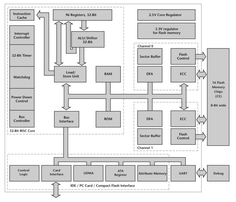
Hyperstone F4 Block Diagram

The F4 NAND flash controller targets high-speed Compact Flash (CF) cards and PATA/IDE Solid State Disk Drives. This controller is derived from the Hyperstone E1 32-bit RISC/DSP processor. The F4 contains dual flash channels, each with its own DFA processor (Direct Flash Access-similar to DMA), and two 4-kbyte sector buffers per channel. It supports SLC and MLC flash from all vendors and is optimized for 4-kbyte/page MLC flash. The F4 supports CFA4.0 and ATA6 specifications and is capable of sustained speeds of greater than 40MB/sec read and greater than30 MB/sec write. Commercial and industrial temperature versions are available. Robust flash management and patented wear leveling are implemented in firmware stored in the flash. A complete set of software tools is provided for card initialization and preformatting.